
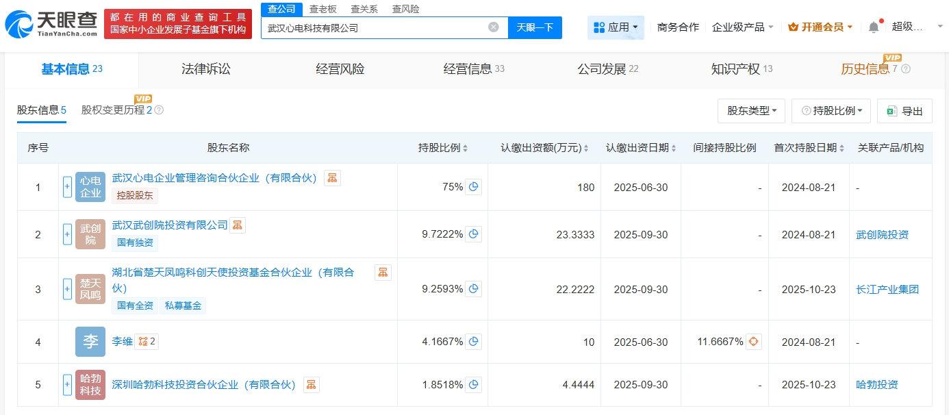
天眼查App显示,近日,武汉心电科技有限公司发生工商变更,新增华为旗下深圳哈勃科技投资合伙企业(有限合伙)、湖北省楚天凤鸣科创天使投资基金合伙企业(有限合伙)为股东南平期货配资,注册资本由200万人民币增至约240万人民币,同时新增多位高管。
武汉心电科技有限公司成立于2024年8月,法定代表人为李维,经营范围包括新材料技术研发、电子专用材料研发、电子专用材料制造等。股东信息显示,该公司现由武汉心电企业管理咨询合伙企业(有限合伙)及上述新增股东等共同持股。
公开信息显示,武汉心电公司专注于电磁功能材料的全方位发展,涵盖吸波材料、屏蔽材料等研发、生产及销售的各个环节。
南平期货配资
富华优配提示:文章来自网络,不代表本站观点。